科技
Insta360「模組化」口袋雲台相機專利曝光,劍指3月登場的DJI Pocket 4?
就在傳聞DJI將於3月更新其熱賣的Osmo Pocket口袋相機產品線之際,競爭對手Insta360似乎準備了一張「模組化」的底牌。根據最新曝光的專利顯示,Insta360正在研發一款鏡頭可拆卸、支援無線拍攝的口袋雲台相機,試圖以更高的使用彈性,正面迎戰DJI Pocket 4。
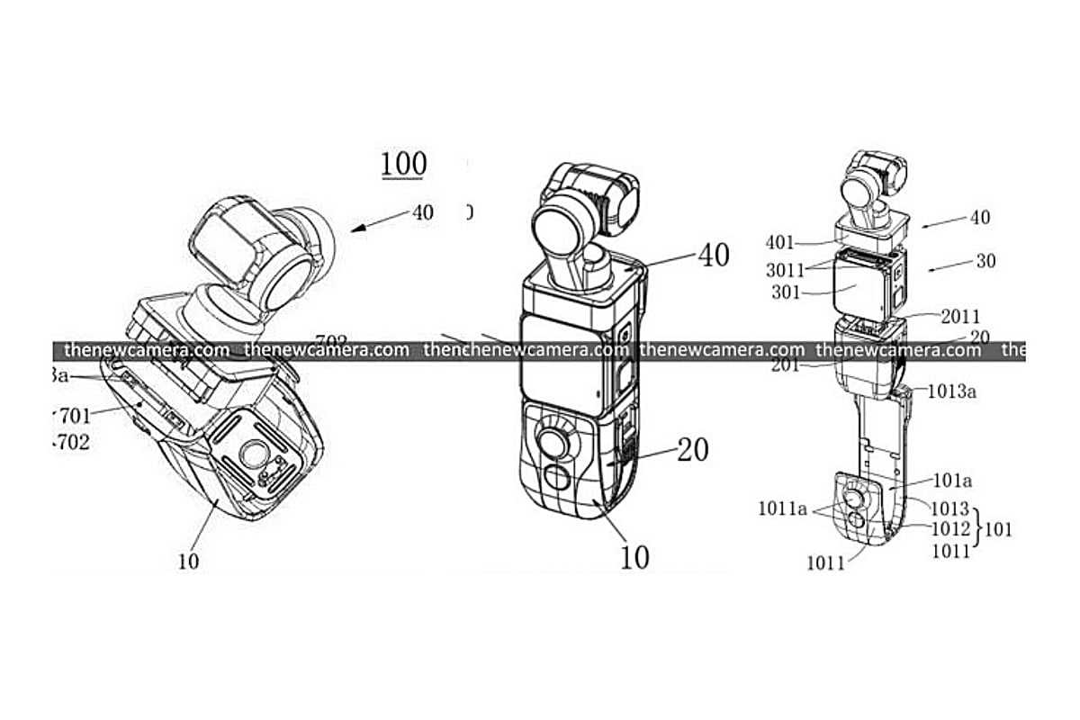
根據外媒報導,Insta360已經申請一項名為「手持雲台平台」的實用新型專利。與傳統一體成型的DJI Pocket系列不同,這款新設備的核心理念在於「模組化」。
專利描述指出,該設備由四大核心組件以「卡扣式」組裝而成,分別包含感光拍攝模組、控制模組 (含螢幕與按鍵)、電源模組,以及連接模組,其最大的亮點在於:
• 無線分離拍攝:鏡頭模組可以從雲台手柄上拆卸下來,並且支援無線獨立拍攝,有點類似Insta360 GO系列的設計邏輯,但結合了雲台的穩定性,實現「裝上是雲台,拆下是運動相機」的多場景覆蓋。
• 可換鏡頭設計:用戶可以根據需求更換鏡頭組件,專利中更提到可安裝雙魚眼鏡頭來拍攝VR/360°全景內容,或是切換使用1吋感光元件鏡頭,藉此獲取高動態範圍的4K影視級畫面。
這款新機的設計概念,傳聞將採用類似自家視訊鏡頭Insta360 Link系列的雲台頭部設計,但透過模組化賦予其無線連接與多元拍攝的能力。
面對對手的來勢洶洶,DJI預計在今年3月推出的Osmo Pocket 4系列也有備而來。根據YouTube頻道《Photorabz》爆料,DJI這次可能採取「標準版」與「Pro版」 的雙規格產品策略。
• Osmo Pocket 4 Pro:傳將採用雙鏡頭設計,並且有望搭載源自Osmo Action 6的1/1.1吋感光元件。雖然尺寸上未超過1吋,但重點在於支援「可變光圈」技術,這將大幅提升在不同光線下的適應力與景深控制。
• Osmo Pocket 4標準版:預計沿用前代的1吋CMOS感光元件 (約940萬畫素),雖然畫質上可能沒有顯著的大躍進,但傳聞其電池續航力將會超越前代,解決高頻率拍攝用戶的痛點。
Insta360近年在全景相機領域站穩腳步後,近期更新的Insta360 X5已經透過軟體演算法與自由運鏡自拍棒配件,試圖模擬出三軸穩定器的運鏡效果,直接瓜分Pocket系列的市場。
如今專利曝光的這款「模組化雲台相機」,顯然是Insta360對DJI發起的第二波攻勢。如果專利成真,這種「無線分離」的設計將徹底解決傳統口袋雲台相機「取景角度受限」的問題(例如:手柄太長無法塞進狹小空間)。
相對地,DJI Pocket 4 Pro若真導入「可變光圈」,則是在「畫質專業度」上築起護城河。
不過,2026年的Vlog相機之戰,顯然還有不少競爭出現,畢竟包含追覓也準備以Leaptic品牌推出名為Cube的運動相機,預期接下來將會有更多品牌加入競爭。
更多Mashdigi.com報導:
紅魔手機推出輕旗艦REDMAGIC 11 Air:搭Snapdragon 8 Elite、真全螢幕,更導入主動散熱風扇
Sony電視業務投下震撼彈!攜手TCL成立合資公司,Bravia未來將由「TCL體系」主導?
2026台北國際電玩展下週登場:399家廠商、逾500款遊戲齊聚
根據外媒報導,Insta360已經申請一項名為「手持雲台平台」的實用新型專利。與傳統一體成型的DJI Pocket系列不同,這款新設備的核心理念在於「模組化」。
專利描述指出,該設備由四大核心組件以「卡扣式」組裝而成,分別包含感光拍攝模組、控制模組 (含螢幕與按鍵)、電源模組,以及連接模組,其最大的亮點在於:
• 無線分離拍攝:鏡頭模組可以從雲台手柄上拆卸下來,並且支援無線獨立拍攝,有點類似Insta360 GO系列的設計邏輯,但結合了雲台的穩定性,實現「裝上是雲台,拆下是運動相機」的多場景覆蓋。
• 可換鏡頭設計:用戶可以根據需求更換鏡頭組件,專利中更提到可安裝雙魚眼鏡頭來拍攝VR/360°全景內容,或是切換使用1吋感光元件鏡頭,藉此獲取高動態範圍的4K影視級畫面。
這款新機的設計概念,傳聞將採用類似自家視訊鏡頭Insta360 Link系列的雲台頭部設計,但透過模組化賦予其無線連接與多元拍攝的能力。
面對對手的來勢洶洶,DJI預計在今年3月推出的Osmo Pocket 4系列也有備而來。根據YouTube頻道《Photorabz》爆料,DJI這次可能採取「標準版」與「Pro版」 的雙規格產品策略。
• Osmo Pocket 4 Pro:傳將採用雙鏡頭設計,並且有望搭載源自Osmo Action 6的1/1.1吋感光元件。雖然尺寸上未超過1吋,但重點在於支援「可變光圈」技術,這將大幅提升在不同光線下的適應力與景深控制。
• Osmo Pocket 4標準版:預計沿用前代的1吋CMOS感光元件 (約940萬畫素),雖然畫質上可能沒有顯著的大躍進,但傳聞其電池續航力將會超越前代,解決高頻率拍攝用戶的痛點。
Insta360近年在全景相機領域站穩腳步後,近期更新的Insta360 X5已經透過軟體演算法與自由運鏡自拍棒配件,試圖模擬出三軸穩定器的運鏡效果,直接瓜分Pocket系列的市場。
如今專利曝光的這款「模組化雲台相機」,顯然是Insta360對DJI發起的第二波攻勢。如果專利成真,這種「無線分離」的設計將徹底解決傳統口袋雲台相機「取景角度受限」的問題(例如:手柄太長無法塞進狹小空間)。
相對地,DJI Pocket 4 Pro若真導入「可變光圈」,則是在「畫質專業度」上築起護城河。
不過,2026年的Vlog相機之戰,顯然還有不少競爭出現,畢竟包含追覓也準備以Leaptic品牌推出名為Cube的運動相機,預期接下來將會有更多品牌加入競爭。
更多Mashdigi.com報導:
紅魔手機推出輕旗艦REDMAGIC 11 Air:搭Snapdragon 8 Elite、真全螢幕,更導入主動散熱風扇
Sony電視業務投下震撼彈!攜手TCL成立合資公司,Bravia未來將由「TCL體系」主導?
2026台北國際電玩展下週登場:399家廠商、逾500款遊戲齊聚
新聞來源: 原始來源
尚無評論,成為第一個發言的人吧!